首页
协会介绍
协会简介
协会章程
信用动态
组织架构
政策法规
国家政策法规
地方政策法规
行业信用评价办法
信用动态
信用资讯
红黑榜
会员专区
入会须知
加入协会
会长单位
副会长单位
常务理事单位
会员单位
其他协会会员专区
诚信东营
会员风采
联系我们
网站首页
信用动态
信用资讯
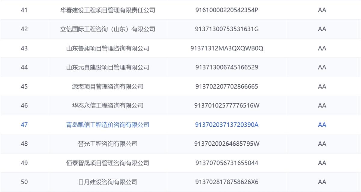
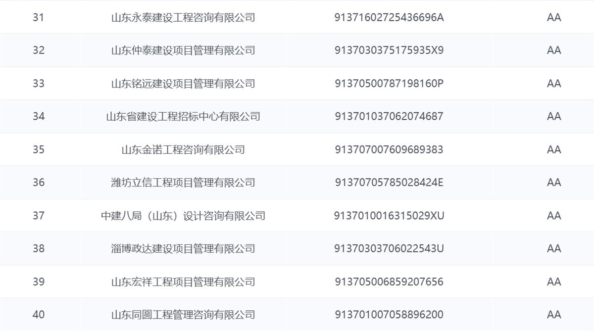
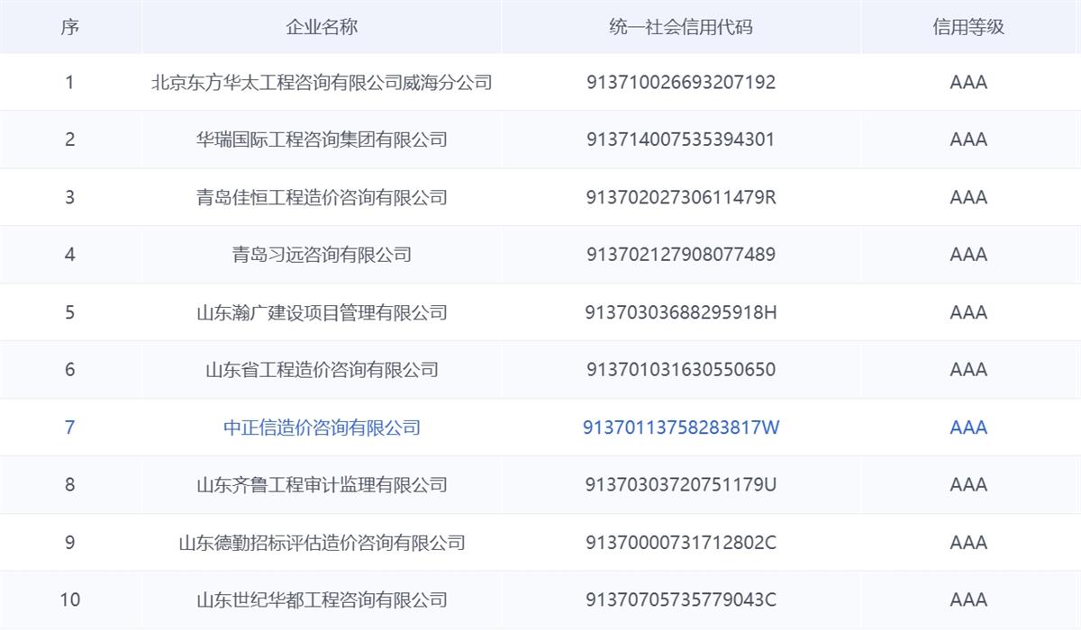
山东省造价咨询企业信用等级评价结果公布
点击:303 发布时间:2026-04-22 作者:
友情链接
信用中国(东营)
工业和信息化部
中国人民网
新华网
信用中国(山东)
东营市人民政府官网